- Η Toyota κοιτάζει και τους δύο τροχούς.
- Αποσπώμενες φιάλες υδρογόνου αντί για κλασικό ανεφοδιασμό.
- Έξυπνη τοποθέτηση για καλύτερη πρόσβαση.
- Θα δούμε τελικά scooter υδρογόνου στους δρόμους;
Η Toyota κοιτάζει και τους δύο τροχούς
Η Toyota, ένας από τους μεγαλύτερους υποστηρικτές της τεχνολογίας υδρογόνου παγκοσμίως, δείχνει πως δεν περιορίζεται πλέον μόνο στα αυτοκίνητα. Νέα πατέντα της εταιρείας αποκαλύπτει ένα scooter υδρογόνου, δείχνοντας ότι η ιαπωνική εταιρεία εξετάζει σοβαρά το μέλλον της μετακίνησης και στους δύο τροχούς.
Η εταιρεία έχει επενδύσει έντονα τα τελευταία χρόνια στην ιδέα της κοινωνίας υδρογόνου, θεωρώντας το ως εναλλακτική λύση απέναντι στα αμιγώς ηλεκτρικά οχήματα με μπαταρία. Τώρα φαίνεται πως θέλει να δει αν αυτή η φιλοσοφία μπορεί να εφαρμοστεί και σε μικρότερα οχήματα πόλης.
Αυτό δεν σημαίνει απαραίτητα ότι έρχεται άμεσα μοντέλο παραγωγής, αλλά δείχνει πως η Toyota δεν αγνοεί τη σημασία των δικύκλων στη μελλοντική αστική κινητικότητα.
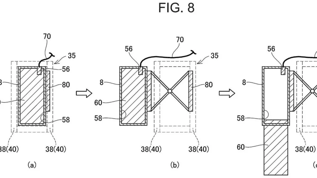
Αποσπώμενες φιάλες υδρογόνου αντί για κλασικό ανεφοδιασμό

Το πιο ενδιαφέρον σημείο της πατέντας αφορά τον τρόπο ανεφοδιασμού. Αντί για κλασικό γέμισμα με συμπιεσμένο υδρογόνο σε πρατήριο, η Toyota προτείνει ανταλλαγή έτοιμων γεμάτων φιαλών.
Ο αναβάτης θα μπορεί να φτάνει σε σταθμό εξυπηρέτησης, να αφαιρεί τη σχεδόν άδεια φιάλη και να τοποθετεί αμέσως μια γεμάτη. Η διαδικασία θυμίζει αλλαγή μπαταρίας σε ηλεκτρικά scooter, αλλά με υδρογόνο.
Με αυτό τον τρόπο εξαλείφεται η ανάγκη για σύνθετο εξοπλισμό υψηλής πίεσης, ενώ η διαδικασία γίνεται πιο γρήγορη και πιο απλή για τον χρήστη.

Έξυπνη τοποθέτηση για καλύτερη πρόσβαση
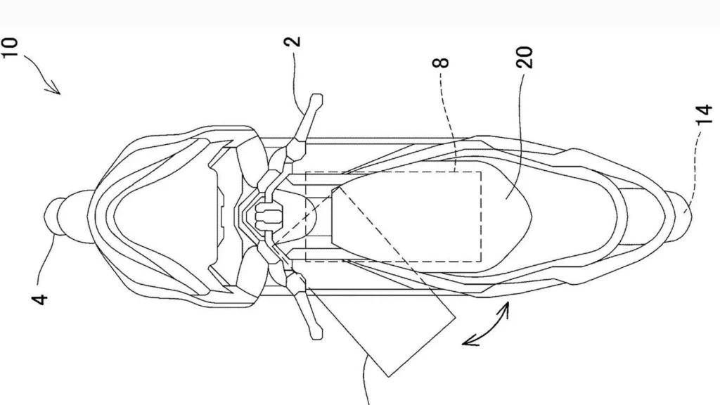
Ένα από τα βασικά προβλήματα σε scooter τέτοιου τύπου είναι η θέση της δεξαμενής. Συνήθως τοποθετείται χαμηλά στο κεντρικό τούνελ του πλαισίου, κάτι καλό για την κατανομή βάρους αλλά δύσκολο για αλλαγή.
Η Toyota προτείνει δύο μηχανικές λύσεις. Στην πρώτη, η φιάλη τοποθετείται σε βάση που ανοίγει προς το πλάι με άρθρωση. Στη δεύτερη, χρησιμοποιείται μηχανισμός τύπου ψαλιδιού που μετακινεί τη φιάλη προς τα έξω χωρίς να αλλάζει γωνία.
Και στις δύο περιπτώσεις, ο στόχος είναι ίδιος: Γρήγορη και εύκολη αντικατάσταση χωρίς ταλαιπωρία.
Θα δούμε τελικά scooter υδρογόνου στους δρόμους;
Η Toyota αναφέρεται στην πατέντα σε σύστημα fuel cell, δηλαδή κυψέλης καυσίμου. Σε αυτή τη διαδικασία το υδρογόνο αντιδρά με το οξυγόνο του αέρα και παράγεται ηλεκτρική ενέργεια, με μοναδικό “καυσαέριο” το νερό.
Θεωρητικά, αυτό σημαίνει καθαρή λειτουργία, μεγάλη αυτονομία και ταχύ ανεφοδιασμό. Στην πράξη όμως υπάρχουν ακόμη μεγάλα εμπόδια: Υποδομές, κόστος παραγωγής υδρογόνου και συνολικό δίκτυο υποστήριξης.
Γι’ αυτό ένα Toyota scooter υδρογόνου δεν φαίνεται πιθανό άμεσα. Ωστόσο η πατέντα αποκαλύπτει κάτι σημαντικό: Οι μεγάλοι κατασκευαστές συνεχίζουν να ψάχνουν λύσεις πέρα από τις μπαταρίες.
Το μέλλον ίσως να μην είναι μόνο ηλεκτρικό. Ίσως να είναι και… υδρογονοκίνητο.
Πηγή: mototriti.gr
