- Η Voge ετοιμάζει sport μοτοσυκλέτα με single-sided swingarm.
- Το πρόβλημα που υπάρχει εδώ και 40 χρόνια με τη ψύξη του φρένου.
- Η πατέντα της Voge στέλνει αέρα μέσα από το ψαλίδι.
- Νέα premium RR500S στον δρόμο;
Η Voge ετοιμάζει sport μοτοσυκλέτα με single-sided swingarm
Η Voge φαίνεται πως ετοιμάζει μια πιο premium έκδοση της νέας RR500S, με βασικό στοιχείο το εντυπωσιακό μονόμπρατσο ψαλίδι. Σύμφωνα με νέα πατέντα, η εταιρεία δεν αρκείται μόνο στην εμφάνιση, αλλά επιχειρεί να λύσει και ένα τεχνικό ζήτημα που συνοδεύει αυτή τη διάταξη εδώ και δεκαετίες.
Η σημερινή αγορά των μικρομεσαίων sport μοτοσυκλετών στην Κίνα αναπτύσσεται γρήγορα, με τις εταιρείες να αναζητούν χαρακτηριστικά που ξεχωρίζουν. Το single-sided swingarm έχει ταυτιστεί με ακριβότερα και πιο εξωτικά μοντέλα, γι’ αυτό και χρησιμοποιείται όλο και περισσότερο ως στοιχείο κύρους.
Η κίνηση της Voge δείχνει πως θέλει να ανέβει επίπεδο και να δώσει τεχνολογικό ενδιαφέρον στη νέα γενιά sport μοντέλων της.
Το πρόβλημα που υπάρχει εδώ και 40 χρόνια με τη ψύξη του φρένου
Τα μονόμπρατσα ψαλίδια προσφέρουν ξεχωριστή εικόνα και διευκολύνουν την αφαίρεση του πίσω τροχού, όμως έχουν και μειονεκτήματα. Συνήθως είναι βαρύτερα και λιγότερο άκαμπτα από τα συμβατικά διπλά ψαλίδια, ενώ υπάρχει και ένα λιγότερο γνωστό θέμα: Η ψύξη του πίσω φρένου.
Σε μια κλασική διάταξη, ο πίσω δίσκος και η δαγκάνα δέχονται φυσική ροή αέρα. Στο μονόμπρατσο όμως, το φρένο βρίσκεται πιο “κλεισμένο” ανάμεσα στον τροχό και στο κέντρο του άξονα, με αποτέλεσμα περιορισμένη κυκλοφορία αέρα.
Αυτό σημαίνει ότι σε απαιτητική χρήση, συνεχές φρενάρισμα ή σπορ οδήγηση, η θερμοκρασία μπορεί να ανεβαίνει πιο εύκολα.
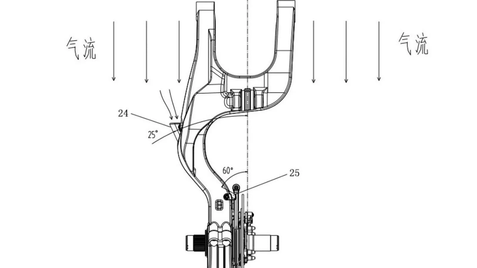
Η πατέντα της Voge στέλνει αέρα μέσα από το ψαλίδι
Η λύση που παρουσιάζει η πατέντα της Voge είναι ιδιαίτερα έξυπνη. Το ψαλίδι λειτουργεί ως αγωγός αέρα, μεταφέροντας ροή από την αριστερή πλευρά προς δύο σημεία εξόδου.
Η πρώτη έξοδος κατευθύνει αέρα πάνω στον πίσω δίσκο φρένου, ενώ η δεύτερη στοχεύει τη δαγκάνα. Με αυτόν τον τρόπο επιτυγχάνεται πιο αποτελεσματική ψύξη χωρίς να απαιτούνται εξωτερικά εξαρτήματα ή περίπλοκες κατασκευές.
Επειδή το ψαλίδι είναι ήδη κοίλο εσωτερικά, η εφαρμογή θεωρητικά δεν αυξάνει σημαντικά ούτε το βάρος ούτε το κόστος παραγωγής.
Πρόκειται για μια λύση που θα μπορούσε να κάνει το μονόμπρατσο ψαλίδι πιο λειτουργικό και όχι μόνο εντυπωσιακό.
Νέα premium RR500S στον δρόμο;
Η υπάρχουσα Voge RR500S χρησιμοποιεί τετρακύλινδρο κινητήρα 475 κ.εκ. με απόδοση 76 ίππων και κόφτη στις 14.000 σ.α.λ. δείχνοντας καθαρόαιμο χαρακτήρα για την κατηγορία.
Η νέα πατέντα υποδηλώνει ότι ίσως έρχεται μια πιο πλούσια έκδοση, με καλύτερο εξοπλισμό και πιο εντυπωσιακή εικόνα, πιθανόν ως ναυαρχίδα της σειράς.
Για τη Voge, τέτοιες κινήσεις έχουν σημασία. Η αγορά πλέον δεν κοιτά μόνο την τιμή, αλλά και την τεχνολογία, την αισθητική και την αίσθηση “premium” που δίνει ένα μοντέλο.
Αν η πατέντα περάσει στην παραγωγή, η εταιρεία μπορεί να προσφέρει κάτι που μέχρι σήμερα σπάνια βλέπουμε: μονόμπρατσο ψαλίδι που βελτιώνει πραγματικά τις επιδόσεις.
Πηγή: mototriti.gr
