- Ο δίχρονος επιστρέφει στο προσκήνιο από την General Motors.
- Θυρίδες με χιτώνιο που ελέγχονται από ηλεκτρομηχανικό ενεργοποιητή.
- e-Turbo και κομπρέσορας: Δίχρονος χωρίς απώλειες σάρωσης.
- Η πατέντα είναι για Range extender και όχι κινητήρα επιδόσεων.
Ο δίχρονος επιστρέφει στο προσκήνιο από την General Motors

Ο δίχρονος κινητήρας θεωρείται διαχρονικά η πιο αποδοτική μορφή παλινδρομικού κινητήρα, καθώς αποδίδει έργο σε κάθε περιστροφή του στροφαλοφόρου, παράγοντας ροπή με διπλάσια συχνότητα σε σχέση με έναν τετράχρονο. Αυτό το πλεονέκτημα, όμως, συνοδεύεται από σοβαρά μειονεκτήματα, με κυριότερα τις απώλειες σάρωσης και τις αυξημένες εκπομπές ρύπων. Η ταυτόχρονη παρουσία καυσαερίων και φρέσκου μίγματος στον κύλινδρο κατά τη λειτουργία του δίχρονου έχει οδηγήσει ιστορικά σε απώλεια καυσίμου και λαδιού μέσω της εξαγωγής, καθιστώντας τον ασύμβατο με τις σύγχρονες περιβαλλοντικές απαιτήσεις.

Παρ’ όλα αυτά, η General Motors (GM) επανέρχεται με μια νέα πατέντα δίχρονου κινητήρα, επιχειρώντας να λύσει τα διαχρονικά προβλήματα με σύγχρονη τεχνολογία και ηλεκτρονικό έλεγχο.
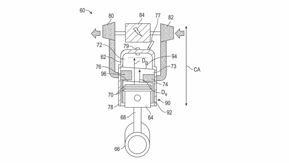
Θυρίδες με χιτώνιο που ελέγχονται από ηλεκτρομηχανικό ενεργοποιητή
Στην καρδιά της νέας πρότασης της GM βρίσκεται ένα σύστημα θυρίδων με χιτώνιο , μια τεχνολογία που δεν είναι καινούργια, αλλά έχει τις ρίζες της στις αρχές του 20ού αιώνα. Παρόμοια συστήματα είχαν χρησιμοποιηθεί σε κινητήρες τύπου Knight ή Burt-McCollum, ακόμη και σε αεροπορικούς αστέρες των δεκαετιών του ’30 και ’40.

Η βασική ιδέα είναι ότι ένα χιτώνιο κινείται ομόκεντρα γύρω από τον κύλινδρο, ανοίγοντας και κλείνοντας τις θυρίδες εισαγωγής και εξαγωγής, σφραγίζοντας τον θάλαμο καύσης μετά τη σάρωση. Η διαφορά σήμερα είναι ότι η GM αντικαθιστά τα βαριά μηχανικά συστήματα με ηλεκτρομηχανικό ενεργοποιητή, δηλαδή έναν ηλεκτροκινητήρα που ελέγχει με ακρίβεια τη θέση του χιτωνίου. Με αυτόν τον τρόπο, ο κινητήρας μπορεί να περιορίσει δραστικά τις απώλειες σάρωσης και να λειτουργήσει χωρίς το κλασικό μίγμα βενζίνης-λαδιού, μειώνοντας σημαντικά τις εκπομπές.
e-Turbo και κομπρέσορας: Δίχρονος χωρίς απώλειες σάρωσης
Για να λειτουργήσει ένας δίχρονος χωρίς προ-συμπίεση στο κάρτερ, απαιτείται εξαναγκασμένη πλήρωση. Όπως συνέβαινε ιστορικά στους μεγάλους δίχρονους πετρελαιοκινητήρες πλοίων και βαρέων οχημάτων, έτσι και στην πατέντα της GM, ο ρόλος αυτός αναλαμβάνεται από έναν ηλεκτρικό κομπρέσορα. Ο συμπιεστής φορτίζει τον αέρα εισαγωγής, δημιουργώντας την απαραίτητη πίεση στον κύλινδρο, ενώ το καύσιμο ψεκάζεται απευθείας στον θάλαμο καύσης λίγο πριν το άνω νεκρό σημείο. Έτσι, κατά τη φάση της σάρωσης δεν υπάρχει καύσιμο στον κύλινδρο, γεγονός που εξαλείφει τον βασικό λόγο ρύπανσης των δίχρονων κινητήρων.

Ιδιαίτερο ενδιαφέρον παρουσιάζει ο συνδυασμός κομπρέσορα και turbo σε μία ενιαία μονάδα. Σε χαμηλές στροφές, ο ηλεκτροκινητήρας κινεί τον συμπιεστή, εξασφαλίζοντας άμεση απόκριση και επαρκή πλήρωση. Σε υψηλότερα φορτία και στροφές, η μονάδα λειτουργεί ως turbo, εκμεταλλευόμενη την ενέργεια των καυσαερίων. Σε ορισμένες συνθήκες, το σύστημα μπορεί ακόμη και να λειτουργήσει ως γεννήτρια, επιστρέφοντας ηλεκτρική ενέργεια στο σύστημα του οχήματος, ανοίγοντας τον δρόμο για υβριδική λειτουργία.
Η πατέντα είναι για Range extender και όχι κινητήρα επιδόσεων
Παρά τον ενθουσιασμό που προκαλεί η ιδέα ενός σύγχρονου δίχρονου κινητήρα με e-Turbo, η GM δεν στοχεύει στις επιδόσεις ή στη μοτοσυκλετιστική χρήση. Το δίπλωμα ευρεσιτεχνίας δείχνει ξεκάθαρα ότι ο κινητήρας προορίζεται για χρήση ως range extender σε ηλεκτρικά οχήματα. Σε αυτή τη λογική, ο δίχρονος δεν κινεί απευθείας τους τροχούς, αλλά λειτουργεί ως γεννήτρια παραγωγής ηλεκτρικής ενέργειας, φορτίζοντας την μπαταρία κίνησης. Μάλιστα, η GM εξετάζει ακόμη και διάταξη αντικριστών εμβόλων με δύο στροφαλοφόρους, επιλογή που ενισχύει την απόδοση και μειώνει τους κραδασμούς, αλλά απομακρύνει ακόμη περισσότερο το concept από την κλασική έννοια του κινητήρα οχημάτων εσωτερικής καύσης.
Παρά τις τεχνολογικές λύσεις, παραμένουν ανοιχτά ερωτήματα, με κυριότερο αυτό της λίπανσης των χιτωνίων. Πρόκειται για ένα πρόβλημα ηλικίας άνω των 125 ετών, το οποίο δεν έχει εξαλειφθεί πλήρως ούτε σήμερα. Αν χρησιμοποιηθεί λάδι, υπάρχει πάντα ο κίνδυνος να περάσει μέρος του στον θάλαμο καύσης, ενώ η επαφή των ελατηρίων του εμβόλου με τις ακμές των θυρίδων ενδέχεται να αυξήσει τη φθορά. Αυτά τα σημεία δείχνουν ότι η πατέντα βρίσκεται ακόμη σε θεωρητικό στάδιο, χωρίς να έχει αποδείξει την πρακτική της βιωσιμότητα.
Πηγή: mototriti.gr
