Με ένα νέο δίπλωμα ευρεσιτεχνίας της KTM για μια ηλεκτρικά υποβοηθούμενη υπερτροφοδότηση, που λειτουργεί με έναν τρόπο που δεν έχουμε ξαναδεί, αυτή θα μπορούσε να είναι η καλύτερη σχεδίαση υπερτροφοδότησης για μοτοσυκλέτα μέχρι σήμερα.
Η επιστροφή της υπερτροφοδότησης στον κόσμο των μοτοσυκλετών ξεκίνησε από την Kawasaki όταν παρουσίασε την Ninja H2. Τότε, δεν υπήρξε αντίδραση από άλλους κατασκευαστές, αφήνοντας την H2R να κρατήσει τον τίτλο της πιο ακραίας μοτοσυκλέτας παραγωγής. Όμως, μέσα στον τελευταίο χρόνο, αυτό έχει αλλάξει, με το ηλεκτρικό τούρμπο της Honda στην V3R και το δίπλωμα ευρεσιτεχνίας E-Turbo της Yamaha.


Σύμφωνα με όσα έχουν γραφεί στην ιστοσελίδα RideApart, η KTM μπαίνει στο παιχνίδι με ένα νέο δίπλωμα ευρεσιτεχνίας που τοποθετείται τέλεια ανάμεσα στα τρία προαναφερθέντα σχέδια, και ίσως ηγηθεί της νέας εποχής υπερτροφοδότησης.
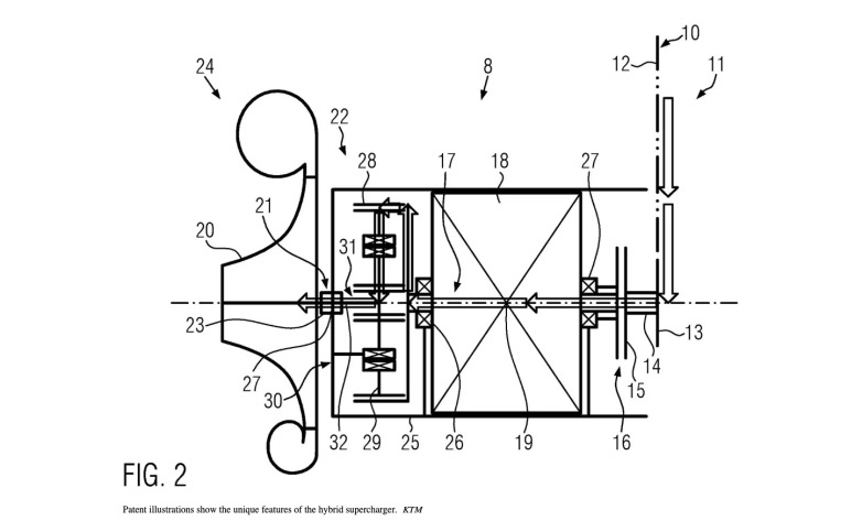
Το δίπλωμα ευρεσιτεχνίας της KTM δείχνει ένα ηλεκτρικά υποβοηθούμενο μηχανικό σύστημα υπερτροφοδότησης, που τοποθετείται ιδανικά ανάμεσα σε αυτό της Ninja H2 και στο πλήρως ηλεκτρικό V3R. Ο υπερσυμπιεστής κινείται από τον στρόφαλο της μοτοσυκλέτας ενώ ταυτόχρονα, υπάρχει ένας μικρός ηλεκτρικά ελεγχόμενος συμπλέκτης που αποσυνδέει τον συμπιεστή από τον στρόφαλο και σε αυτή την περίπτωση, ένας ηλεκτροκινητήρας αναλαμβάνει την περιστροφή του.

Ο ηλεκτροκινητήρας ενεργοποιείται ώστε να παρέχει άμεση ισχύ όταν οι στροφές του κινητήρα είναι πολύ χαμηλές και οι στροφές του υπερσυμπιεστή δεν επαρκούν για να ανεβάσουν την πίεση του αέρα της εισαγωγής.
Ο συμπλέκτης κάνει αυτόματα την σύμπλεξη ή την αποσύμπλεξη ανάλογα με το τι προσφέρει την καλύτερη απόδοση στον κινητήρα. Ωστόσο, υπάρχει και μια τρίτη λειτουργία όπου ο υπερσυμπιεστής μπορεί να κινείται τόσο από τον ηλεκτροκινητήρα όσο και μηχανικά από τον στρόφαλο, εάν αυτό είναι πιο αποδοτικό. Όταν ο ηλεκτροκινητήρας δεν κινεί τον υπερσυμπιεστή ή χρησιμοποιείται ελάχιστα, μπορεί να λειτουργεί ως γεννήτρια για τη φόρτιση της μπαταρίας και εδώ υπερτερεί σε σχέση με τον πλήρως ηλεκτρικό υπερσυμπιεστή της Honda, φτάνοντας να έχει την εκμετάλλευση της κινητικής ενέργειας απευθείας στον ηλεκτροκινητήρα, κάτι που ξεπερνά την απόδοση του ηλεκτρικού τούρμπο της Yamaha μπαίνοντας στα νερά της νέας πιο απλής τεχνολογίας της F1 όπου καταργείται το ηλεκτρικό τούρμπο και αυξάνεται το μέγεθος του ηλεκτρικού μοτέρ για περισσότερη ανάκτηση κινητικής ενέργειας.
Η KTM υπερτερεί με αυτό το σύστημα από τον ηλεκτρικό υπερσυμπιεστή του κινητήρα V3R της Honda ο οποίος προσφέρει άμεση ροπή, αλλά απαιτεί περισσότερη ισχύ από την μπαταρία, με αποτέλεσμα μεγαλύτερες και βαρύτερες μπαταρίες. Αντίθετα, το σχέδιο της KTM, με την μερική ηλεκτρική υποβοήθηση και τη δυνατότητα ανάκτησης ενέργειας, μπορεί να χρησιμοποιεί μικρότερη και ελαφρύτερη μπαταρία, μειώνοντας το συνολικό βάρος της μοτοσυκλέτας ή να αυξήσει την συνολική ιπποδύναμη καθώς δίνει επιπλέον ισχύ στον στρόφαλο για περισσότερο χρόνο.
Ο μόνος πραγματικός ανταγωνιστής για την τεχνολογία της KTM φαίνεται να είναι το E-Turbo της Yamaha, το οποίο χρησιμοποιεί έναν ηλεκτροκινητήρα για να περιστρέψει εκ των προτέρων τον υπερσυμπιεστή και την πτερωτή των καυσαερίων, εξαλείφοντας την καθυστέρηση (lag) πριν αναλάβει η πίεση των καυσαερίων, όπως γίνεται σε μια παραδοσιακή τουρμπίνα. Αυτή η τεχνολογία βρίσκεται ήδη σε χρήση σε κάποια πολυτελή αυτοκίνητα, όπως αυτά της Mercedes-AMG και της Porsche, αλλά καταργείται στην F1 με στόχο να μειωθεί το κόστος και να αυξηθεί η ανάκτηση κινητικής ενέργειας στο φρενάρισμα.


Το δίπλωμα ευρεσιτεχνίας της KTM δείχνει τον υπερσυμπιεστή τοποθετημένο σε ένα μονοκύλινδρο εντούρο, αλλά η σχεδίαση του συστήματος επιτρέπει εύκολη εφαρμογή σε οποιονδήποτε από τους κινητήρες της KTM. Με την ελαφριά διάταξή του ταιριάζει ιδανικά με τους μικρότερους κινητήρες της εταιρείας, προσφέροντάς τους περισσότερη ισχύ και λιγότερες εκπομπές ρύπων, ένα συνεχώς αυξανόμενο πρόβλημα στο χώρο της μοτοσυκλέτας, καθώς οι Ευρωπαϊκές προδιαγραφές εκπομπών γίνονται όλο και πιο αυστηρές.
Έτσι, οι αναβάτες θα συνεχίσουν να απολαμβάνουν όλα τα γνωστά πλεονεκτήματα ενός τούρμπο σε έναν πιο αποδοτικό, ισχυρό κινητήρα με λιγότερες εκπομπές από έναν αντίστοιχο χωρίς υπερτροφοδότηση και με την προσθήκη της άμεσης απόκρισης στις χαμηλές στροφές χάρη στον ηλεκτροκινητήρα. Αυτό του δίνει ένα πλεονέκτημα έναντι των καθαρά μηχανικών συστημάτων που δεν υπήρχαν στις μοτοσυκλέτες, καθώς η υστέρηση απόκρισης έχει μεγάλη σημασία τόσο στην ενεργητική ασφάλεια στις άμεσες επιταχύνσεις μιας μοτοσυκλέτας, όσο και στον έλεγχο των στροφών του κινητήρα στις αλλαγές ταχυτήτων.
Η KTM κάνει ένα μεγάλο βήμα στη νέα τεχνολογία με τον καλύτερο τρόπο και περιμένουμε να δούμε τα πρώτα σχέδια του συστήματος υπερτροφοδότησης, αλλά και τα πρώτα μοντέλα που θα το χρησιμοποιήσουν, με πολύ μεγάλο ενδιαφέρον.
Πηγή: zougla.gr
