Η χρήση του υπερσυμπιεστή (turbo) από την Yamaha, δείχνει ότι εργάζεται πάνω σε κινητήρες μοτοσυκλετών που συνδυάζουν turbo (για επιπλέον ισχύ) με ηλεκτρικό μοτέρ που εξομαλύνει την καθυστέρηση απόκρισης (turbo lag), ενώ με τη σημερινή τεχνολογία ανάκτησης ενέργειας παράγεται ρεύμα από τα καυσαέρια.

Η Yamaha και η Honda αυξάνουν τον βαθμό απόδοσης του κινητήρα εσωτερικής καύσης με ηλεκτρικά turbo
Καθώς ο κόσμος κατευθύνεται ραγδαία προς τον εξηλεκτρισμό, είναι εύκολο να πιστέψει κανείς ότι οι κινητήρες εσωτερικής καύσης βρίσκονται στο τέλος τους. Οι κανονισμοί για τις εκπομπές ρύπων αυστηροποιούνται, οι πόλεις δημιουργούν ζώνες μηδενικών εκπομπών, και ακόμη και οι εταιρείες μοτοσυκλετών επενδύουν σοβαρά στην ηλεκτρική και υβριδική τεχνολογία.
Αλλά οι κινητήρες εσωτερικής καύσης δεν παραδίδονται αμαχητί. Αντίθετα, αντιστέκονται με νέες τεχνολογίες, χρησιμοποιώντας υπερσυμπιεστές, υβριδικές εκδόσεις και κάθε είδους πρωτοποριακή τεχνολογία. Αυτή τη στιγμή βρισκόμαστε σε μια συναρπαστική μεταβατική περίοδο, όπου οι εταιρείες κάνουν ό,τι μπορούν για να αποσπάσουν περισσότερη απόδοση και αποδοτικότητα από μικρότερους και καθαρότερους κινητήρες. Και τα αποτελέσματα είναι άκρως εντυπωσιακά.

Ο ηλεκτρικός υπερσυμπιεστής της Honda
Η Honda αναμένεται να παρουσιάσει φέτος τη V3R E-Compressor, ένα τολμηρό concept που συνδυάζει έναν ηλεκτρικό υπερσυμπιεστή με μια σπάνια διάταξη κινητήρα V3. Το σημαντικό στοιχείο είναι ο ηλεκτρικός υπερσυμπιεστής, σε αντίθεση με τα παραδοσιακά turbo, δεν χρειάζεται καυσαέρια για να παράγει ώθηση. Αυτό σημαίνει ότι η ισχύς είναι άμεσα διαθέσιμη, χωρίς καθυστέρηση, και με εξαιρετικά άμεση απόκριση στο γκάζι.

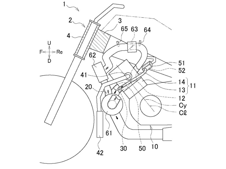
Το ηλεκτρικά υποβοηθούμενο turbo της Yamaha
Η Yamaha αναπτύσσει τη δική της εκδοχή: Ένα ηλεκτρικά υποβοηθούμενο turbo, παρόμοιο με συστήματα που χρησιμοποιούνται σε πολυτελή αυτοκίνητα, όπως αυτά της Mercedes-AMG και της Porsche που υιοθετούν αυτή την τεχνολογία από τον χώρο της F1. Όπως ανέφερε το Cycle World, το σύστημα της Yamaha χρησιμοποιεί έναν ηλεκτροκινητήρα για να περιστρέφει το turbo πριν τα καυσαέρια αρχίσουν να το κινούν, εξαλείφοντας έτσι την καθυστέρηση πριν καν υπάρξει.
Mercedes-AMG
Το ενδιαφέρον είναι ότι η Yamaha δεν θέλει να στραφεί πλήρως στις υβριδικές εκδόσεις μοτοσυκλετών, αν και έχει παρουσιάσει ήδη κάποια μοντέλα και είναι πιθανό να συνδυάσει το ηλεκτρικό turbo σε επόμενο υβριδικό μοντέλο. Από τη στιγμή που το ηλεκτρικό turbo δεν δίνει απευθείας το παραγόμενο ηλεκτρικό ρεύμα σε έναν ηλεκτροκινητήρα στο σύστημα μετάδοσης όπως συμβαίνει στην F1, δεν υπάρχουν βαριές μπαταρίες. Αντίθετα, πιθανότατα χρησιμοποιείται ένα ελαφρύ σύστημα μπαταριών 48 βολτ, σε συνδυασμό ενδεχομένως με πυκνωτές για προσωρινή αποθήκευση ενέργειας. Αυτό κάνει πιο εύκολη στην ενσωμάτωση του ηλεκτρικού turbo σε υπάρχοντα μοντέλα όπως η MT-09, που ίσως αποτελέσει την πρώτη εφαρμογή της τεχνολογίας.

Μιλώντας για την MT-09, η Yamaha πρόσφατα παρουσίασε ένα υβριδικό μοντέλο. Δεν είναι plug-in hybrid και δεν λειτουργεί αθόρυβα μόνο με ρεύμα. Αντίθετα, ο μικρός ηλεκτροκινητήρας βοηθά σε ομαλότερες εκκινήσεις, καλύτερη απόδοση καυσίμου και μια μικρή αύξηση ισχύος, χωρίς να χάνεται ο χαρακτήρας του τρικύλινδρου CP3 κινητήρα.
Το ηλεκτρικό turbo μειώνει την κατανάλωση καυσίμου.
Οι κατασκευαστές πρέπει να συμμορφωθούν με αυστηρούς κανονισμούς εκπομπών όπως το Euro 5+. Έτσι, αντί να παρατήσουν τους κινητήρες εσωτερικής καύσης, οι εταιρείες πειραματίζονται σε τολμηρές νέες διατάξεις κινητήρων, καινοτόμους τρόπους ενσωμάτωσης της ηλεκτρικής τεχνολογίας και νέες τεχνολογίες χαμηλότερου κόστους. Το ηλεκτρικό turbo παράγει ενέργεια στις υψηλές στροφές από την υψηλή πίεση και ταχύτητα εξαγωγής των καυσαερίων, αποθηκεύοντας αυτήν την ηλεκτρική ενέργεια για να επαναχρησιμοποιηθεί στην γρήγορη αύξηση των στροφών του στις χαμηλές στροφές και στην άμεση επιτάχυνση από χαμηλές στροφές στον κινητήρα. Η επιτάχυνση έρχεται χωρίς καμία υστέρηση στην απόκριση και η απόδοση ροπής είναι μεγαλύτερη από τις χαμηλές στροφές του κινητήρα. Στην συνεχόμενη λειτουργία με φορτίο στον κινητήρα, το ηλεκτρικό turbo εκμεταλλεύεται την ενέργεια των καυσαερίων και μειώνει την κατανάλωση καυσίμου.

Με τη νέα τεχνολογία των ηλεκτρικών turbo, oι αναβάτες θα εξακολουθούν να λαχταρούν τον ήχο, τη δόνηση και την αναλογική αίσθηση ενός θερμικού κινητήρα, κάτι που η ηλεκτρικές μοτοσυκλέτες δεν θα καταφέρουν να προσεγγίσουν. Η ανάπτυξη συστημάτων που μειώνουν την κατανάλωση καυσίμου ή ρεύματος είναι πολύ σημαντική, καθώς είναι η λύση στη μετακίνηση με τους λιγότερους δυνατούς ρύπους. Οι νέες τεχνολογίες είναι εδώ και περιμένουμε ακόμη περισσότερη εξέλιξη προς το κοινό όφελος, έχοντας καθαρότερα οχήματα με αξιόλογες επιδόσεις.
Πηγή: zougla.gr
