Η Porsche προκαλεί αντιδράσεις με μια νέα πατέντα ανάρτησης, η οποία επαναφέρει μια τεχνολογία που πολλοί θεωρούσαν ξεπερασμένη για σπορ μοντέλα, θυμίζοντας έντονα λύσεις που είδαμε στο παρελθόν, κυρίως από αμερικανικούς κατασκευαστές.
Για χρόνια, η Chevrolet είχε δεχθεί έντονη κριτική για τη χρήση εγκάρσιων φύλλων σούστας στην πίσω ανάρτηση του εμβληματικού sportscar, την Corvette. Μάλιστα, η συγκεκριμένη διάταξη εγκαταλείφθηκε με την έλευση της γενιάς C8.
Και όμως, η Porsche φαίνεται τώρα να ακολουθεί μια παρόμοια φιλοσοφία, σύμφωνα με πατέντα που κατατέθηκε το καλοκαίρι του 2024 και δημοσιεύτηκε από τον Παγκόσμιο Οργανισμό Πνευματικής Ιδιοκτησίας (WIPO) στις αρχές του 2026.

Με αριθμό πατέντας 102024117824, η γερμανική εταιρεία επιχειρεί να συνδυάσει την ανεξάρτητη ανάρτηση με ελαστικά στοιχεία τύπου φύλλου σούστας, μια λύση που μέχρι σήμερα θεωρούνταν ακατάλληλη για καθαρόαιμα σπορ μοντέλα.
Ο δημιουργός της πατέντας, Fric Ondrej, ενσωματώνει στην ανάρτηση έναν βραχίονα τύπου ψαλιδιού με μορφή φύλλου σούστας, καθώς και τουλάχιστον ένα επιπλέον στοιχείο αντίστοιχης φιλοσοφίας, με στόχο τη βελτίωση της λειτουργίας της ανεξάρτητης ανάρτησης.

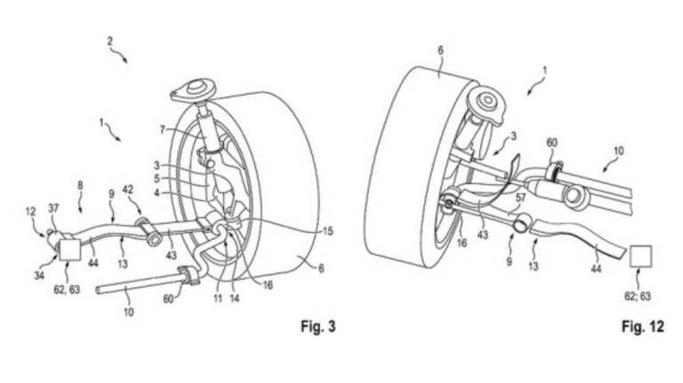
Όπως είναι αναμενόμενο, η Porsche δεν περιορίζεται σε μια απλή εφαρμογή της παραπάνω ρύθμισης. Στην συγκεκριμένη πατέντα περιγράφεται ένας ιδιαίτερα σύνθετος συνδυασμός εξαρτημάτων, όπου το αμορτισέρ αποτελεί μέρος του φορέα τροχού (ένα σημαντικό εξάρτημα της ανάρτησης που συγκρατεί το ρουλεμάν του τροχού, το άκρο και το σύστημα πέδησης), ενώ το δεύτερο ψαλίδι έχει σχεδιαστεί έτσι ώστε να λειτουργεί και ως αντιστρεπτική.
Ιδιαίτερο ενδιαφέρον παρουσιάζει και η δυνατότητα μεταβολής της ακαμψίας του πρώτου ψαλιδιού, χάρη σε έδρανα στήριξης που μπορούν να μετακινούνται τόσο εγκάρσια όσο και κατακόρυφα. Σύμφωνα με την περιγραφή, μέσω ηλεκτρικού ή υδραυλικού ενεργοποιητή θα μπορούσε να ρυθμίζεται τόσο η απόσταση από το έδαφος όσο και η σκληρότητα της ανάρτησης, χωρίς την ανάγκη πολύπλοκων και ακριβών αερανάρτησεων.

Η αντικατάσταση των ελικοειδών ελατηρίων με φύλλα σούστας αποσκοπεί στη σημαντική μείωση του συνολικού ύψους της ανάρτησης. Αυτό ανοίγει νέες σχεδιαστικές δυνατότητες και θα μπορούσε να συμβάλει και στη βελτίωση της παθητικής ασφάλειας πεζών, επιτρέποντας τη χαμηλότερη τοποθέτηση φερόντων δομικών στοιχείων.
Παράλληλα, σε επίπεδο οδικής συμπεριφοράς, γίνεται λόγος για οφέλη κυρίως στις καμπές, με θετική επίδραση στην ακτίνα στροφής του τιμονιού, ενώ δεν αποκλείεται και μείωση του κόστους λόγω του μικρότερου αριθμού εξαρτημάτων.
Η συγκεκριμένη πατέντα αποκτά ακόμη μεγαλύτερο ενδιαφέρον στο πλαίσιο της ηλεκτροκίνησης. Σε μελλοντικά μοντέλα με ηλεκτροκινητήρες ενσωματωμένους στους τροχούς, μια τέτοια διάταξη ανάρτησης θα μπορούσε να εξασφαλίσει πολύτιμο επιπλέον χώρο για τα μηχανικά και ηλεκτρικά υποσυστήματα.
Πηγή: newsauto.gr
