Οι μηχανικοί της Sant’Agata Bolognese φέρονται να έχουν αναπτύξει το πιο πολυσύνθετο και προηγμένο Drag Reduction System στην ιστορία.
Η Lamborghini επανέρχεται στο προσκήνιο της αεροδυναμικής καινοτομίας με ένα νέο σύστημα ενεργής αεροτομής που αποσκοπεί στη μείωση της οπισθέλκουσας.
Τα σκίτσα που διέρρευσαν από την πρόσφατη ευρεσιτεχνία της ιταλικής εταιρείας αποκαλύπτουν μια προσέγγιση σαφώς πιο σύνθετη από το γνωστό DRS που μέχρι πρότινος υπήρχε στη Formula 1.

Πιστή στο DNA της, η Lamborghini δεν αρκείται σε μια απλή μεταβολή γωνίας πτέρυγας, αλλά εξελίσσει μια αεροτομή πολλαπλών στοιχείων με μαγνητική ενεργοποίηση. Η βασική πρόκληση που καλείται να λύσει κάθε αεροδυναμική διάταξη είναι ο συμβιβασμός ανάμεσα στην κάθετη δύναμη και την τελική ταχύτητα.
Μια σταθερή πίσω πτέρυγα προσφέρει υψηλά επίπεδα κρατήματος στις στροφές, όμως ταυτόχρονα αυξάνει την αντίσταση στον αέρα, περιορίζοντας την απόδοση στις ευθείες.
Το DRS επιχειρεί να γεφυρώσει αυτό το χάσμα, μειώνοντας προσωρινά την παραγόμενη κάθετη δύναμη όταν οι συνθήκες το επιτρέπουν, συνήθως σε ευθείες και επαναφέροντάς την πριν από την είσοδο σε στροφή.

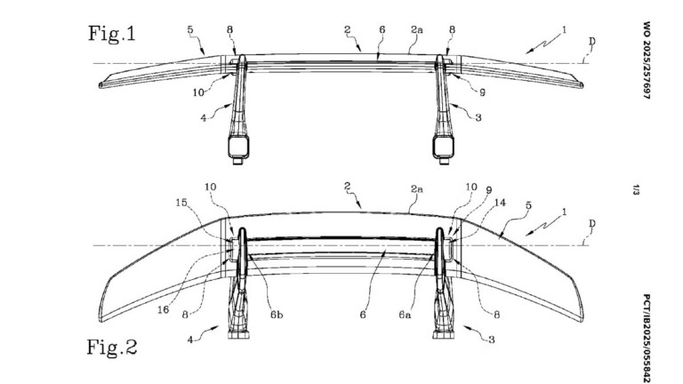
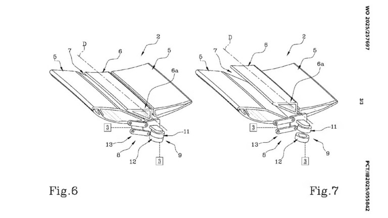
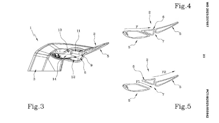
Η λύση που προτείνει η Lamborghini διαφοροποιείται ουσιαστικά. Αντί για μία ενιαία κινούμενη πτέρυγα, η νέα διάταξη αποτελείται από δύο ξεχωριστά αεροδυναμικά στοιχεία.
Το πρώτο λειτουργεί ως η κύρια πτέρυγα, ενώ το δεύτερο είναι ενσωματωμένο σε ειδική σχισμή στο «σώμα» της. Αυτό το δευτερεύον στοιχείο είναι το μόνο που μετακινείται και μπορεί να αλλάζει θέση εντός προκαθορισμένου εύρους, δημιουργώντας, όταν ανοίγει, ένα κενό στο προφίλ της πτέρυγας.
Το κενό αυτό μεταβάλλει ριζικά τη ροή του αέρα. Αντί ο αέρας να αναγκάζεται να κινηθεί γύρω από την πτέρυγα δημιουργώντας τις γνωστές ζώνες υψηλής και χαμηλής πίεσης, ένα μέρος του διοχετεύεται μέσα από τη δομή.
Το αποτέλεσμα είναι η δραστική μείωση της κάθετης δύναμης και της οπισθέλκουσας, ουσιαστικά «απενεργοποιώντας» την πτέρυγα όταν απαιτείται υψηλότερη τελική ταχύτητα.

Ιδιαίτερο ενδιαφέρον παρουσιάζει και ο μηχανισμός ενεργοποίησης, με τη Lamborghini να επιλέγει έναν συνδυασμό ηλεκτρομαγνήτη και μόνιμου μαγνήτη.
Με αυτόν τον τρόπο, η κίνηση του δεύτερου στοιχείου επιτυγχάνεται με λιγότερα μηχανικά μέρη, μειωμένο βάρος και απλούστερη ενσωμάτωση στο αυτοκίνητο. Παρά την οπτική πολυπλοκότητα, η λύση αυτή υπόσχεται μεγαλύτερη αξιοπιστία και ταχύτερη απόκριση.
Σύμφωνα με την ευρεσιτεχνία της ιταλικής εταιρείας, η συγκεκριμένη αρχιτεκτονική επιτρέπει τη χρήση μεγαλύτερων και πιο επιθετικών πτερύγων, χωρίς το σύνηθες κόστος σε αεροδυναμική αντίσταση.
Θεωρητικά, το σύστημα θα μπορούσε να εξελιχθεί περαιτέρω με πολλαπλά κινούμενα τμήματα, χωρίζοντας την πτέρυγα σε ζώνες που θα ενεργοποιούνται ανεξάρτητα.
Έτσι, ο οδηγός ή τα ηλεκτρονικά του αυτοκινήτου θα μπορούσαν να προσαρμόζουν την αεροδυναμική συμπεριφορά ανάλογα με τη φύση της στροφής ή της ευθείας, από γρήγορα κομμάτια τύπου Eau Rouge έως καθαρές ευθείες που ενδείκνυνται για υψηλή τελική ταχύτητα.
Πηγή: newsauto.gr
