Η Aprilia δεν αποκαλύπτει ακόμα λεπτομέρειες, αλλά η πρόθεση είναι ξεκάθαρη: Να πάρει τα δεδομένα της πίστας και να τα προσαρμόσει στον δρόμο.
Μια πρόσφατα δημοσιευμένη πατέντα της Aprilia αποκαλύπτει προηγμένη αεροδυναμική τεχνολογία, προερχόμενη από τις αγωνιστικές μοτοσυκλέτες του MotoGP, σηματοδοτώντας το επόμενο κύμα καινοτομιών αγωνιστικής προέλευσης που ετοιμάζονται να περάσουν στις μοτοσυκλέτες παραγωγής.

Στο MotoGP, η αεροδυναμική έχει γίνει ένα από τα πιο σημαντικά πεδία μάχης. Τα αεροδυναμικά φτερά, οι αεραγωγοί και οι προεξοχές του φέρινγκ δεν είναι πια ιδιοτροπίες, αλλά είναι πλέον ενσωματωμένα στην λειτουργία αυτών των μοτοσυκλετών στην οδήγησή τους στο όριο από τους αναβάτες της κορυφαίας κατηγορίας.

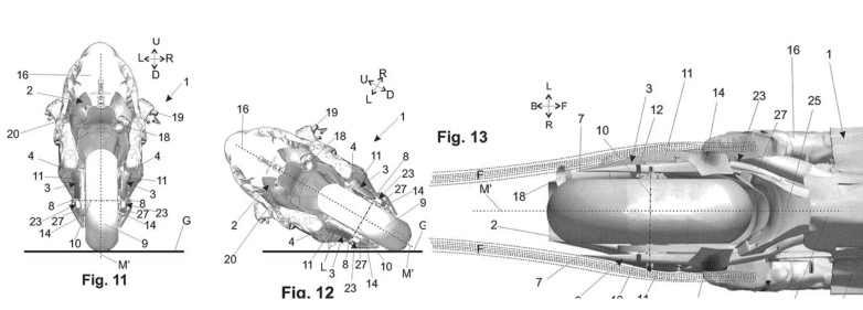
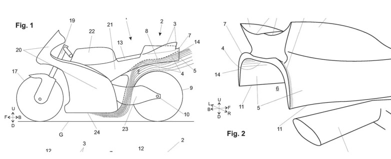
Τώρα φαίνεται πως η Aprilia σχεδιάζει να μεταφέρει ακόμη περισσότερα από αυτήν την αγωνιστική τεχνολογία στις μοτοσυκλέτες παραγωγής, χάρη σε μια νέα πατέντα που περιγράφει ρυθμιζόμενα αεροδυναμικά εξαρτήματα.

Η πατέντα με αριθμό EP4604512A1, περιγράφει ένα σύστημα που αλλάζει σχήμα ανάλογα με τον τρόπο και τις συνθήκες οδήγησης. Με πιο επίσημη διατύπωση, η Aprilia δηλώνει ότι αυτές οι ρυθμιζόμενες αεροτομές αποσκοπούν στη «βελτίωση της σταθερότητας, της πρόσφυσης και της ασφάλειας σε καταστάσεις όπου η δυναμική του οχήματος ενδέχεται να επηρεαστεί αρνητικά».
Αν αφαιρέσουμε τη νομική ορολογία, αυτό που πραγματικά εννοούν είναι ότι βοηθούν τη μοτοσυκλέτα να παραμένει σταθερή στη μέγιστη επιτάχυνση, στο δυνατό φρενάρισμα και να κατευθύνουν σωστά τον αέρα στις στροφές στο μέγιστο πλάγιασμα για να βελτιώσουν την πρόσφυση.

Τα σχέδια της πατέντας δείχνουν κινητά αεροδυναμικά εξαρτήματα και μέρη που αναδιπλώνονται ή εκτείνονται ανάλογα με την ταχύτητα ή τις ανάγκες του αναβάτη. Είναι μια ιδέα βγαλμένη απευθείας από το MotoGP, χωρίς όμως τον περιορισμό των κανονισμών. Οι ομάδες ήδη ξοδεύουν ατελείωτες ώρες προσπαθώντας να πετύχουν τη μέγιστη κάθετη δύναμη χωρίς να κάνουν τις μοτοσυκλέτες δύσκολες στον έλεγχό τους. Η Aprilia δεν αποκαλύπτει ακόμα λεπτομέρειες, αλλά η πρόθεση είναι ξεκάθαρη: να πάρει τα δεδομένα της πίστας και να τα προσαρμόσει στον δρόμο.

Η πατέντα αυτή φαίνεται να είναι αρκετά καλή για να περάσει σε ένα μοντέλο παραγωγής. Πολλές ιδέες κατοχυρώνονται και ποτέ δεν φτάνουν να εξελίσσονται όσο χρειάζεται για να αποδώσουν στην πράξη. Αλλά η αγωνιστική ιστορία έχει αποδείξει ότι πολλές καινοτομίες περνούν τελικά στις μοτοσυκλέτες παραγωγής. Η αεροδυναμική που εξελίσσεται στο MotoGP έχει δοκιμαστεί στις πιο δύσκολες συνθήκες και από τη στιγμή που αποδίδει είναι έτοιμη να εφαρμοστεί στην παραγωγή.
Η ιδέα της Aprilia να κατασκευάζει μοτοσυκλέτες παραγωγής με αεροδυναμικά εξαρτήματα που ανταποκρίνονται και προσαρμόζονται σε πραγματικό χρόνο, κατευθύνοντας τη ροή του αέρα για να κρατά τη μοτοσυκλέτα υπό έλεγχο χωρίς περιορισμούς, είναι κάτι που θέλουμε να δούμε στους δρόμους για περισσότερη ασφάλεια, αλλά και στην πίστα σε Trackdays που δίνουν τη δυνατότητα της αξιοποίησης όλων αυτών.

Από τα σχέδια στο χαρτί, μέχρι τις μοτοσυκλέτες παραγωγής, οι άνθρωποι που εργάζονται στις καινοτομίες έχουν στόχο να δώσουν στους αναβάτες περισσότερα πράγματα από τα συνηθισμένα και να εξελίξουν τη μοτοσυκλέτα σε βαθμό που δεν τον φανταζόμαστε. Τέτοιου είδους αλλαγές δίνουν άλλο ενδιαφέρον στην οδήγηση της μοτοσυκλέτας, ενώ και η εμφάνισή της αλλάζει ριζικά. Αναμένουμε την τελική μορφή της μοτοσυκλέτας παραγωγής και φυσικά να την οδηγήσουμε σε πίστα όπου είναι και το ασφαλέστερο μέρος για γρήγορη οδήγηση.
Κατά πάσα πιθανότητα κάποιες ή όλες αυτές οι πατέντες θα εμφανιστούν στην νέα “Χ” της Aprilia, η οποία θα παρουσιαστεί σήμερα το απόγευμα στην Βαρκελώνη.
Πηγή: zougla.gr
