Η Ferrari κατοχύρωσε με δίπλωμα ευρεσιτεχνίας έναν νέο κινητήρα, ο οποίος επαναπροσδιορίζει πλήρως την κλασική διάταξη του V12.
Οι V12 κινητήρες ανέκαθεν ασκούσαν μια ξεχωριστή γοητεία στους φίλους της Αυτοκίνησης και των αγώνων αυτοκινήτου. Κι αν υπάρχει μια εταιρεία που έχει ταυτιστεί με αυτούς δεν είναι άλλη από τη Ferrari.
Ως γνωστόν, η παραδοσιακή δομή ενός V12 κινητήρα είναι δύο εξακύλινδροι σε σειρά οι οποίοι σχηματίζουν διάταξη «V», με την περιεχόμενη γωνία να κυμαίνεται από 60 μοίρες έως (σχεδόν) 180 μοίρες.

Ωστόσο, οι άνθρωποι της Ferrari κατέθεσαν στις 19 Μαρτίου (2026) στο Γραφείο Ευρεσιτεχνιών και Εμπορικών Σημάτων των ΗΠΑ («USPTO») αίτηση για την κατοχύρωση πατέντας για έναν καινούργιο δωδεκακύλινδρο κινητήρα ο οποίος διαφοροποιείται ριζικά από αυτή την καθιερωμένη αρχιτεκτονική.
Η αίτηση της έχει τον αριθμό 2026/0077642 A1. Τόσο στο κείμενο όσο και στα σκίτσα που τη συνιστούν, η εταιρεία του Μαρανέλο διατηρεί τις δύο σειρές των έξι κυλίνδρων, αλλά τις τοποθετεί ανεξάρτητα μεταξύ τους, σε διάταξη τύπου «Υ».

Σε αντίθεση με τους συμβατικούς V12, όπου οι δύο σειρές μοιράζονται έναν κοινό στροφαλοφόρο άξονα, στην ευρεσιτεχνία της Ferrari κάθε σειρά διαθέτει τον δικό της.
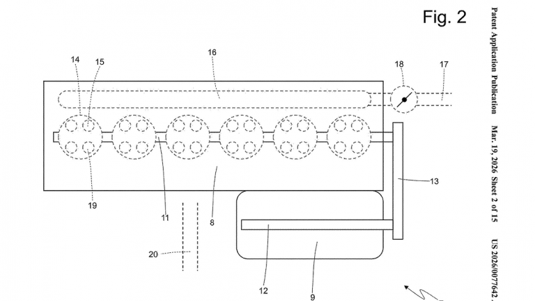
Όπως μπορούμε να δούμε στα σχετικά σκίτσα, στην πράξη πρόκειται λιγότερο για έναν κλασικό V12 και περισσότερο για δύο ανεξάρτητους εξακύλινδρους σε σειρά κινητήρες, οι οποίοι είναι υπερτροφοδοτούμενοι και τετραβάλβιδοι.

Τα δύο μπλοκ τοποθετούνται υπό γωνία περίπου 45 μοιρών μεταξύ τους, με τη διάταξη να ανοίγει προς τα εμπρός και να συγκλίνει προς το πίσω μέρος του οχήματος. Κοιτώντας το ως κάτοψη σχηματίζεται το χαρακτηριστικό σχήμα του γράμματος «Υ».
Ένα κοινό στοιχείο στην αίτηση για την πατέντα της Ferrari αποτελεί το σύστημα εξαγωγής, το οποίο διέρχεται επάνω από τους κινητήρες και συνενώνει τις δύο ροές καυσαερίων σε μία τελική έξοδο, μέσω ηλεκτρονικά ελεγχόμενων βαλβίδων (τα δύο μπλοκ και η κοινή εξάτμιση σχηματίζουν το κεφαλαίο «Υ»).

Σύμφωνα με την ιταλική εταιρεία, η διαχείριση αυτή επιτρέπει τη βέλτιστη επεξεργασία των καυσαερίων. Παράλληλα, τα κυκλώματα ψύξης και λίπανσης των δύο μονάδων του νέου δωδεκαβάλβιδου κινητήρα είναι διασυνδεδεμένα, ώστε να διατηρείται σε θερμοκρασία λειτουργίας ένας εξ αυτών ακόμη και όταν είναι απενεργοποιημένος.
Έτσι, μειώνεται η εκπομπή διοξειδίου του άνθρακα και καυσαερίων κατά την επανεκκίνησή του. Να σημειώσουμε ότι στην αίτηση ευρεσιτεχνίας δεν περιλαμβάνονται στοιχεία για τον κυβισμό τού εν λόγω κινητήρα ή για τη μέγιστη ισχύ και ροπή του.

Η ασυνήθιστη αυτή διάταξη για δωδεκακύλινδρο μοτέρ εξυπηρετεί τους σχεδιαστές του αμαξώματος -οι οποίοι θα έχουν μεγαλύτερη ελευθερία να εφαρμόσουν τις ιδέες τους- όπως και τους αεροδυναμιστές που θα μπορούν να δημιουργήσουν ένα πιο αεροδυναμικό όχημα.
Επιπλέον, η συγκεκριμένη συγκλίνουσα διάταξη των δύο μπλοκ του κινητήρα επιτρέπει και την τοποθέτησή του πιο μπροστά, προς την καμπίνα των επιβατών, βελτιώνοντας το κέντρο βάρους (και την αναλογία αυτού εμπρός-πίσω) και δημιουργώντας περισσότερο χώρο για την πίσω ανάρτηση.

Ένα ακόμη αξιοσημείωτο γεγονός είναι η σειραϊκή υβριδική διάταξη του νέου δωδεκακύλινδρου κινητήρα. Οι δύο εξακύλινδροι που τον συνιστούν δεν κινούν απευθείας τους τροχούς.
Καθένας από αυτούς συνδέεται με μία γεννήτρια, ενώ η κίνηση μεταδίδεται στους τροχούς αποκλειστικά μέσω ηλεκτροκινητήρων, μέσω κιβωτίου μίας σχέσης.
Στην κατατεθείσα αίτηση, δεν υπάρχει αναφορά ή πρόβλεψη για την τοποθέτηση συμβατικού (μηχανικού) κιβώτιου ταχυτήτων ή χώρος για συμπλέκτη.

Επίσης, το σύστημα περιλαμβάνει μια μπαταρία, χωρίς να αναφέρονται περαιτέρω τεχνικές λεπτομέρειες. Αυτή φορτίζει μέσω αναγεννητικής πέδησης και συνδράμει τόσο στη μείωση της κατανάλωσης καυσίμου όσο και στην έντονη επιτάχυνση του οχήματος.
Ένα ακόμη ενδιαφέρον στοιχείο είναι ότι η κεντρική μονάδα διαχείρισης του συστήματος επιτρέπει τη λειτουργία των δύο κινητήρων με διαφορετικές στροφές μεταξύ τους, επηρεάζοντας τόσο την απόδοσή τους όσο και τον εκπεμπόμενο ήχο.
Σύμφωνα με τη Ferrari, όταν το μηχανικό σύνολο λειτουργεί μόνο με το ένα μπλοκ αυξάνεται η αποδοτικότητά του αναφορικά με την εκπομπή διοξειδίου του άνθρακα. Αναμενόμενα, όταν είναι ενεργοποιημένα και τα δύο ο δωδεκακύλινδρος αποδίδει τη μέγιστη ισχύ του.

Παραπάνω γράψαμε ότι στην πατέντα προβλέπεται κιβώτιο μίας σχέσης. Ωστόσο, στο κείμενο της αίτησης περιγράφεται η δυνατότητα δημιουργίας ενός εικονικού «κιβωτίου ταχυτήτων».
Αυτό σημαίνει ότι η ηλεκτρονική μονάδα θα προσομοιώνει αλλαγές σχέσεων, είτε χειροκίνητα είτε αυτόματα- προσδίδοντας πιο σπορ χαρακτήρα στην οδήγηση του αυτοκινήτου.
Πάντως, το γεγονός ότι η Ferrari κατέθεσε τη συγκεκριμένη αίτηση ευρεσιτεχνίας δεν σημαίνει ότι θα την εφαρμόσει οπωσδήποτε σε κάποιο μελλοντικό μοντέλο της. Ενδεχομένως να χρησιμοποιήσει κάποιες λύσεις που περιλαμβάνονται σε αυτή και όχι αυτούσια.
Ωστόσο, το γεγονός ότι επαναπροσδιορίζει ριζικά την κατασκευαστική φύση ενός V12 κινητήρα παρουσιάζει ιδιαίτερο μηχανολογικό, τεχνολογικό αλλά και εμπορικό ενδιαφέρον.
Πηγή: newsauto.gr
